Tesla deposita un brevetto per tetti "trasparenti" alle connessioni satellitari. Starlink in arrivo a bordo?
di Massimiliano Zocchi pubblicata il 18 Dicembre 2025, alle 13:06 nel canale Auto Elettriche
Nuovi materiali potrebbero consentire il pieno passaggio delle connessioni satellitari, per nascondere un'antenna nel tetto della vettura
Le vetture di Tesla sono probabilmente quelle meglio connesse alla rete. Anche se la concorrenza ha fatto passi da gigante da questo punto di vista, le auto elettriche di Musk e soci continuano ad essere un riferimento per qualità dell'applicazione per smartphone, e per la quantità di interazioni possibili tramite il collegamento remoto.
Tuttavia la ricerca non si ferma mai, e la stessa Tesla ha depositato un nuovo brevetto proprio per queste funzionalità. Il brevetto spiega come i materiali usati ad oggi in automotive, metalli e vetri di vario genere, abbiano spesso l'effetto di bloccare o attenuare i segnali radio, quelli satellitari in particolare.

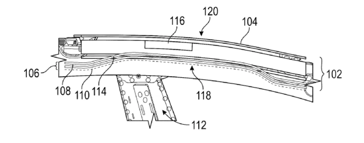
La soluzione proposta, sintetizzata nelle solite immagini schematiche a supporto, si basa sull'utilizzo di un tetto "trasparente alle radiofrequenze", grazie a miscele polimeriche specifiche, come il policarbonato o l'acrilonitrile-stirene-acrilato.
Nella descrizione del brevetto non viene mai citata la connessione Starlink, ma ovviamente l'immaginazione va subito in quella direzione. Con queste modifiche strutturali Tesla potrebbe integrare nel tetto un'antenna Starlink (che già ha dimensioni piuttosto contenute e forma molto semplice) per offrire una ulteriore connettività a supporto.
Data la copertura di Starlink non ancora completa sul globo, il sistema potrebbe essere calibrato per passare da una connessione tradizionale, 4G o 5G, al satellitare solo quando necessario, o in base alle migliori prestazioni nel luogo e nel momento specifico.










Insta360 Link 2 Pro e 2C Pro: le webcam 4K che ti seguono, anche con gimbal integrata
Motorola edge 70: lo smartphone ultrasottile che non rinuncia a batteria e concretezza
Display, mini PC, periferiche e networking: le novità ASUS al CES 2026
WhatsApp, in Italia restano i chatbot di terze parti dopo l'intervento Antitrust
Connessioni mobile in Italia: chi naviga più veloce? La classifica di nperf per il 2025
Le nuove offerte Amazon sono eccezionali e c'è un po' di tutto, dagli smartphone ai PC, dalla domotica ai robot








0 Commenti
Gli autori dei commenti, e non la redazione, sono responsabili dei contenuti da loro inseriti - infoDevi effettuare il login per poter commentare
Se non sei ancora registrato, puoi farlo attraverso questo form.
Se sei già registrato e loggato nel sito, puoi inserire il tuo commento.
Si tenga presente quanto letto nel regolamento, nel rispetto del "quieto vivere".